Vysokotlaká šoupátka - kdy je použít a proč
V online newsletteru ARMATURÁŘ společnosti ARMATURY Group jste se již mohli dočíst o mnoha průmyslových armaturách, které společnost vyrábí a dodává svým zákazníkům.

V online newsletteru ARMATURÁŘ společnosti ARMATURY Group jste se již mohli dočíst o mnoha průmyslových armaturách, které společnost vyrábí a dodává svým zákazníkům. V tomto vydání Vaši znalost rozšíříme o vysokotlaká šoupátka S43.
Vysokotlaká šoupátka jsou speciální typ šoupátek, která se používají především v energetice. Jejich pracovním médiem je napájecí voda a vysokotlaká přehřátá pára. Tento typ šoupátek se vyrábí ve společnosti ARMATURY Group od roku 2007.
Šoupátka S43 se dají rozdělit do tří základních skupin:
Typ S43.5 pro páru a vodu
(viz. obrázek 1)
Rozsah tohoto typu šoupátka je PN 160 až PN 400, DN 50 až DN 600. Jedná se o základní řadu navazující na typ S41, historicky spadající do 70. let. Šoupátka AG mají konstrukci s tlakotěsným víkem, což je speciální provedení utěsnění víka pro vysoké tlaky a teploty (viz. obrázek 4). Těsnicí kroužek je z expandovaného grafitu, vyráběný ve formách do příslušného tvaru. Těleso a víko je vždy z výkovků. Provedení s pružným klínem, stoupající vřeteno. Ovládání standardně elektropohonem nebo ručním kolem (u větších DN přes převodovku). Na základě požadavku zákazníka pak je možno navrhnout ovládání pneumatickým nebo hydraulickým táhlovým pohonem, případně navrhnout dálkové ovládání ze stojanu, pro umístění šoupátek v prostoru nad/pod podlahou.
Tato šoupátka jsou určena pro práci v extrémních podmínkách. Teplota páry standardně dosahuje 555 °C a tlak při této teplotě je většinou 13,6 MPa. U takzvaných nadkritických bloků elektráren se pak teploty dostávají až nad hranici 600 °C. V případě napájecí vody se pak jedná o teploty okolo 255 °C a tlak 22,5 MPa.
Kovaná šoupátka S43.5 jsou nezbytnou a nedílnou součásti v různých elektrárnách a teplárnách nejen v České republice, ale v celé Evropě.
Typ S43.1 pro plynná média vč. vodíku
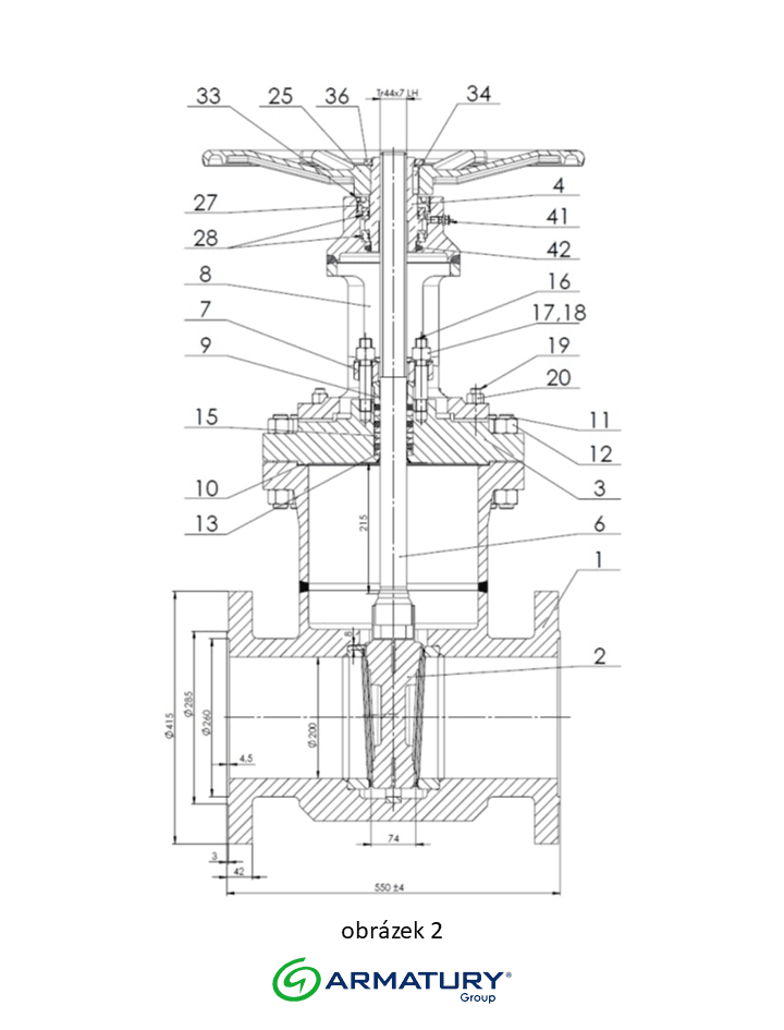
(viz. obrázek 2)
Rozsah PN 63 a PN 100, DN 50 až DN 350. Toto je řada šoupátek, která vznikla na základě požadavku trhu. Jedná se o šoupátka, kde těleso i víko je vyrobeno z výkovků. Ale víkový spoj je v tomto případě řešený pomocí přírubového spoje. Tato šoupátka z kovaných materiálu je možno použít například na plynná média včetně vodíku. Případně se používá v umístěních, kde jsou vyšší nároky na kvalitu materiálu tělesa z důvodu pracovního média, jímž je pára.
Typ S43.3 pro zemní plyn
(viz. obrázek 3)
Rozsah PN 16 až PN 100, DN 50 až DN 400. Jedná se o řadu šoupátek pro přepravu zemního plynu. Tělesa těchto šoupátek jsou odvozena z koncepce kovaných těles. Zbytek konstrukce je ale naprosto odlišný, konstrukce je navržena podle dodacích podmínek zákazníka.
Podmínky zohledňují především normu EN 14141 „Armatury pro přepravu zemního plynu“. Konstrukce je s nestoupajícím vřetenem, namísto klasické ucpávky je vřeteno utěsněno několika úrovněmi těsnění pomocí „o“ kroužků. Ve většině případů tato šoupátka ARMATURY Group vyrábí v přivařovacím provedení, pro podzemní umístění, s ovládáním přes nástavec různých délek, podle požadované hloubky zakopání. V současné době společnost ARMATURY Group provádí úpravu konstrukce těles na provedení z tvářených polotovarů, trubka + klenuté dno. Toto řešení přinese zefektivnění výroby tělesa, snížení pracnosti při opracování. Šoupátka S43.3 jsou nezbytnou součástí plynovodů.



Výhody splňující vysoké nároky
U všech tří typů šoupátek jsou těsnicí plochy navařeny tvrdonávarem typu Stellite 6. Tento typ návaru vykazuje odolnost vůči vysokým teplotám, je odolný vůči působení páry. A jako jediný splňuje nároky na dovolený stykový tlak na těsnicích plochách klínu a sedel.
Materiály pro výrobu těles, vík a klínů se stanovují podle požadavku zákazníka (materiál potrubí) a v závislosti na pracovních parametrech. Jedná se o uhlíkovou ocel např. 1.0460, přes legované oceli 1.7715 nebo 1.7335, až po ocel typu 1.4903, která je pro nejnáročnější aplikace až do 650 °C. Používají se kované polotovary, které zaručují 100% kvalitu materiálu.
Způsoby ovládání jsou uvedeny výše. Samozřejmě vždy záleží na požadavcích a dohodě se zákazníkem, jaký typ ovládání se na šoupátku zhotoví.
Dále je šoupátka možno vybavit obtokem. Obtoky slouží pro vyrovnání tlaků při najíždění nebo pro postupné zahřívání potrubí. Podrobnější popis možného vybavení je vždy uveden v příslušných Montážně provozních předpisech k jednotlivým typům šoupátek.
Pro více informací
Petr Postulka, designer